Beschläge mit Ideen
zurück zur Übersicht

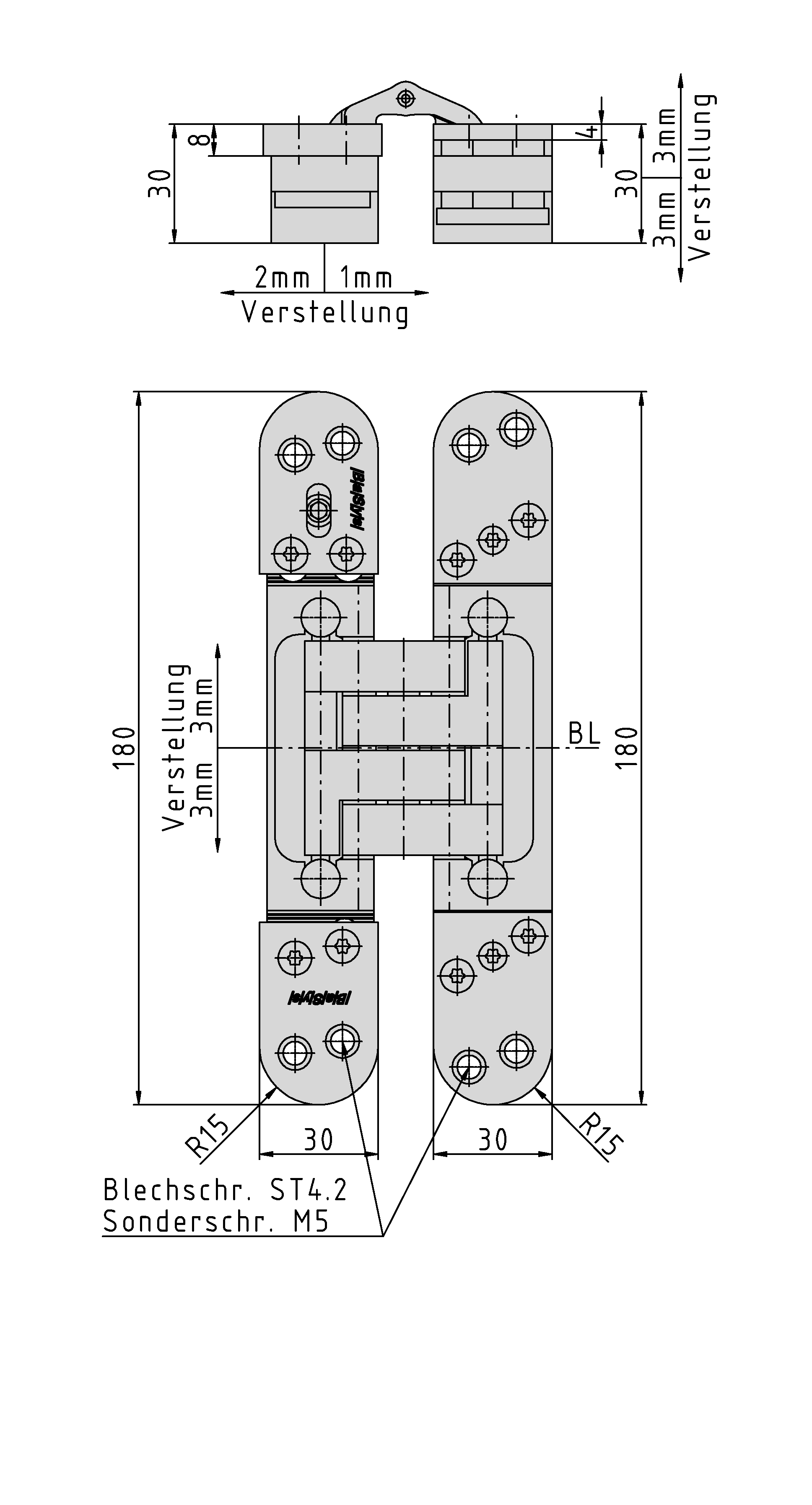
PIVOTA ® DX 61 3-D "IHA"

Artikelbeschreibung

Normbelastung:

Türgewicht 100 kg (pro Paar)

Anwendung:

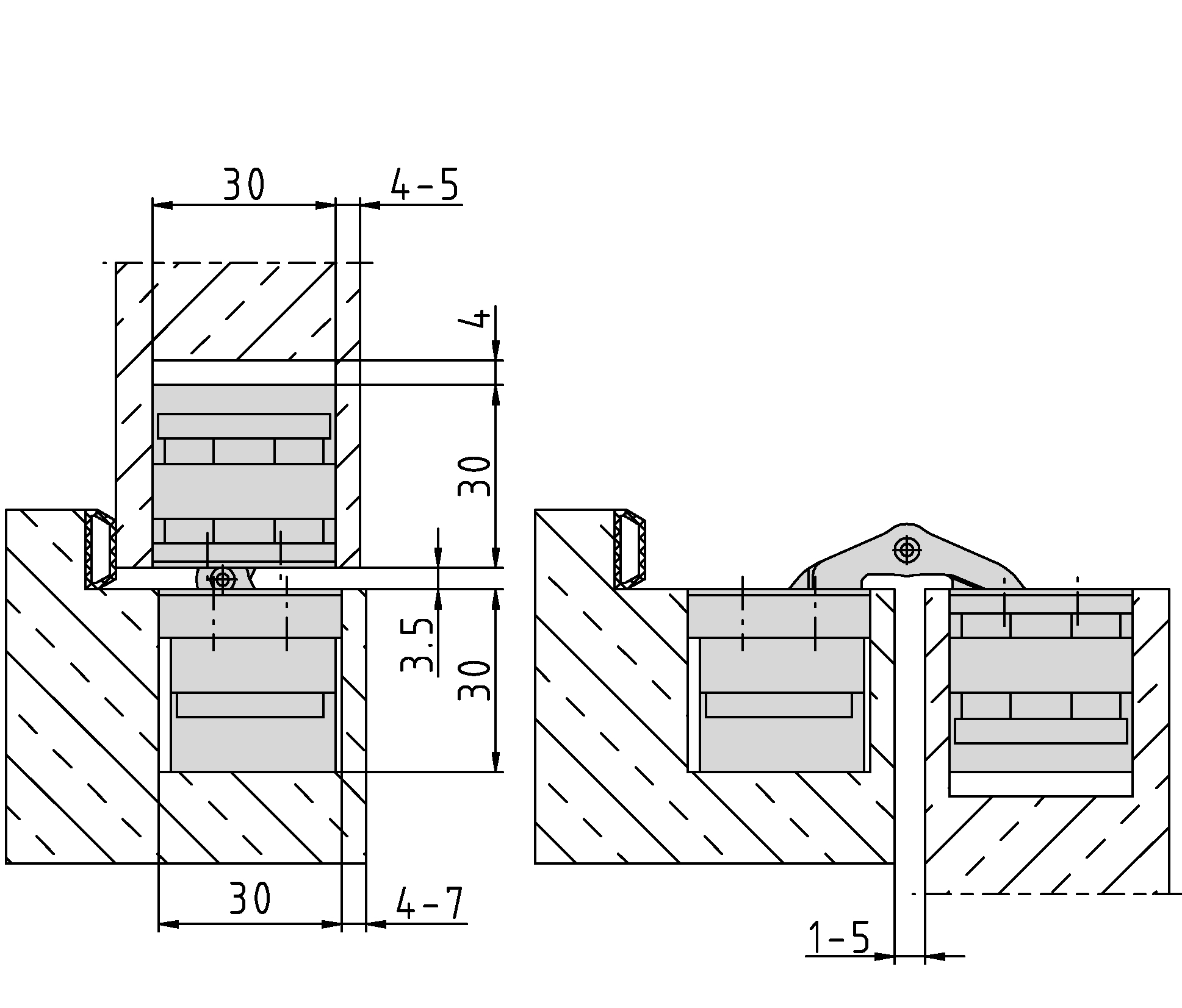
stumpf einschlagende Türen, bei ge- schlossener Tür ist das Band unsicht- bar; 3-dimensionale Justierung, war- tungsfreie Lagerungen; integrierte Höhen- verstellung ("IHA")

Zubehör:

PIVOTA ® DX Aufnahmen für Futter- oder Stahlzargen; Frässchablone Hinweis: inkl. Befestigungsschrauben
Artikelnummer Oberfläche
039479 velour vernickelt
039828 Alu Look F1

Downloads