Beschläge mit Ideen
zurück zur Übersicht

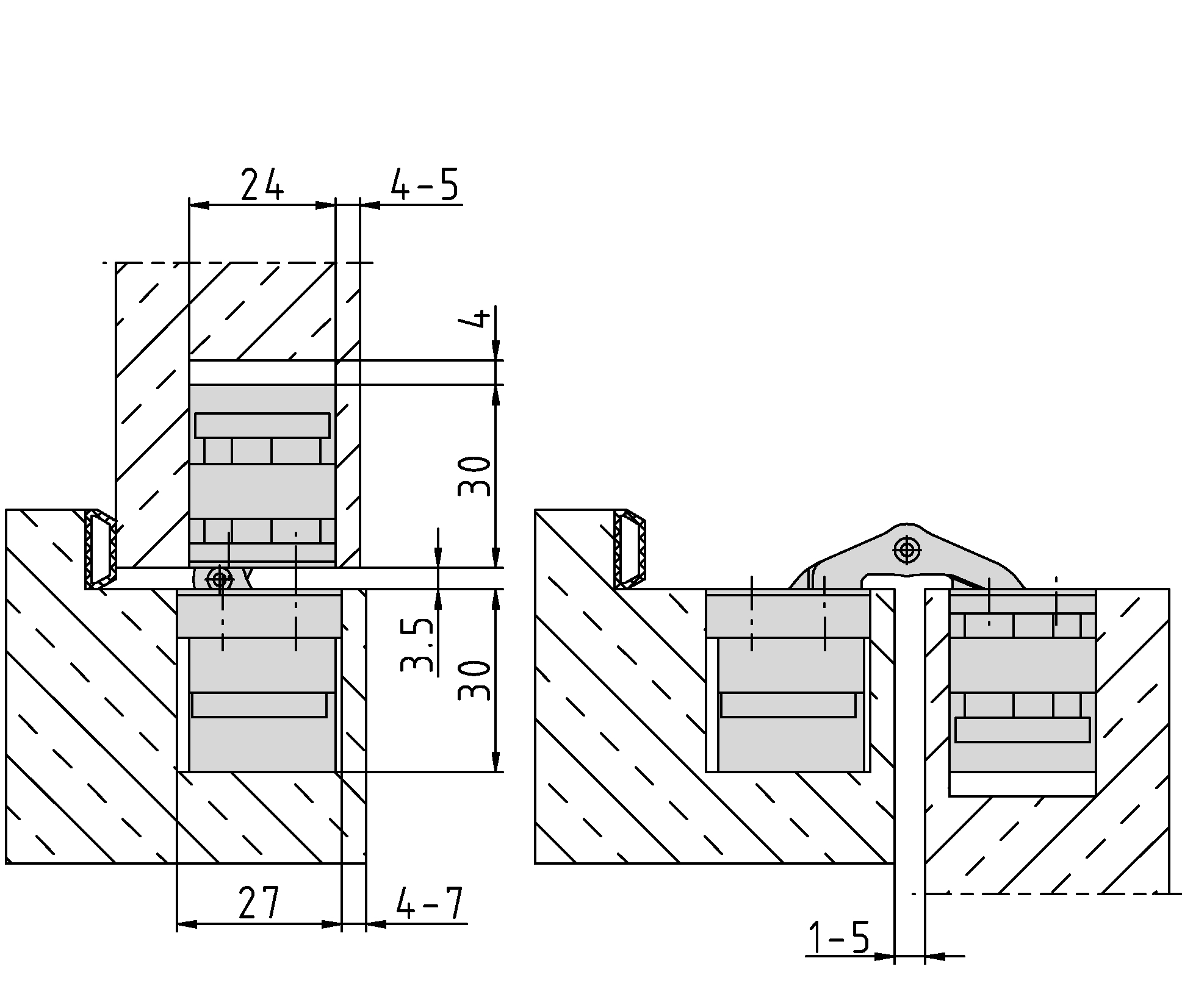
PIVOTA ® DX 60 3-D "Design"

Artikelbeschreibung

Normbelastung:

Türgewicht 100 kg (pro Paar)

Anwendung:

stumpf einschlagende Türen, bei ge- schlossener Tür ist das Band unsicht- bar; 3-dimensionale Justierung, war- tungsfreie Lagerungen; schraubenfreie Optik durch magnetisch gehaltene Abdeckplatten

Zubehör:

PIVOTA ® DX Aufnahmen für Futter- oder Stahlzargen; Frässchablone Hinweis: inkl. Befestigungsschrauben
Artikelnummer Oberfläche
039712 velour vernickelt
040551 Edelstahl Look
040780 Alu Look F1
S17036 RAL 9004 matt
S19024 RAL 9005 matt

Downloads